World Wireless System

The Wardenclyffe Power Plant prototype, intended by Nikola Tesla to be a "World Wireless" telecommunications facility.

The World Wireless System was a turn of the 20th century proposed telecommunications and electrical power delivery system designed by inventor Nikola Tesla based on his theories of using Earth and its atmosphere as electrical conductors. He claimed this system would allow for "the transmission of electric energy without wires" on a global scale[1] as well as point-to-point wireless telecommunications and broadcasting. He made public statements citing two related methods to accomplish this from the mid-1890s on. By the end of 1900 he had convinced banker J. P. Morgan to finance construction of a wireless station (eventually sited at Wardenclyffe) based on his ideas intended to transmit messages across the Atlantic to England and to ships at sea. His decision to change the design to include wireless power transmission to better compete with Guglielmo Marconi's new radio based telegraph system was met with Morgan's refusal to fund the changes. The project was abandoned in 1906, never to become operational.

During this period Tesla filed numerous patents associated with the basic functions of his system, including transformer design, transmission methods, tuning circuits, and methods of signaling. He also described a plan to have some thirty Wardenclyffe-style telecommunications stations positioned around the world to be tied into existing telephone and telegraph systems. He would continue to elaborate to the press and in his writings for the next few decades on the system's capabilities and how it was superior to radio-based systems.

Despite claims of having "carried on practical experiments in wireless transmission",[2] there is no documentation he ever transmitted power beyond relatively short distances and modern scientific opinion is generally that his wireless power scheme would not have worked.

History

Illustration of Tesla in 1891 showing two partially evacuated tubes illuminated by a rapidly alternating electrostatic field created between two metallic sheets.[3][4][5]
Tesla sits in front of a spiral coil from a high-voltage transformer at his East Houston St., New York laboratory in 1896

Origins

Tesla's ideas for a World Wireless system grew out of experiments beginning in the early 1890s after learning of Hertz's experiments with electromagnetic waves using induction coil transformers and spark gaps.[6][7] He duplicated those experiments and then went on to improve Hertz's wireless transmitter, developing various alternator apparatus and his own high tension transformer, known as the Tesla coil.[8][9] His primary interest in wireless phenomenon was as a power distribution system, early on pursuing wireless lighting.[10] From 1891 on Tesla was delivering lectures including "Experiments with Alternate Currents of High Potential and High Frequency" in 1892 in London and in Paris and went on to demonstrate "wireless lighting"[11] in 1893[12] including lighting Geissler tubes wirelessly.

One-wire transmission

The first experiment was the operation of light and motive devices connected by a single wire to one terminal of a high frequency induction coil, performed during the 1891 New York City lecture at Columbia College. While a single terminal incandescent lamp connected to one of an induction coil's secondary terminals does not form a closed circuit "in the ordinary acceptance of the term"[13] the circuit is closed in the sense that a return path is established back to the secondary by capacitive coupling or 'displacement current'. This is due to the lamp's filament or refractory button capacitance relative to the coil's free terminal and environment; the free terminal also has capacitance relative to the lamp and environment.

Wireless transmission

The second result demonstrated how energy can be made to go through space without any connecting wires. The wireless energy transmission effect involves the creation of an electric field between two metal plates, each being connected to one terminal of an induction coil's secondary winding. A gas discharge tube was used as a means of detecting the presence of the transmitted energy. Some demonstrations involved lighting of two partially evacuated tubes in an alternating electrostatic field while held in the hand of the experimenter.[14]

Development

Drawing from the 1897 U.S. patent 649,621 "Apparatus for Transmission of Electrical Energy" (along with U.S. patent 645,576), shows Tesla's concept of transmitting electrical energy through the upper atmosphere via terminals supported by balloons tethered at up to 35,000 feet above sea level.

While formulating his theories in the early 1890s Tesla discarded the idea of using radio waves.[15] He did not necessarily believe that radio waves existed as theorized by Maxwell,[15][16] and he agreed with what most physicists were saying at the time: that radio waves would travel in a straight line in the same way that visible light travels, limiting their use for long-range communication.[17] (Radio waves do travel in a straight line, but this was many years before the discovery that the ionosphere would reflect certain radio waves making skywave communication of shortwave frequency bands possible over long distances.)

He believed that transmitting electrical signals beyond a line-of-sight distance would require the use of planet Earth as a conducting medium to overcome this limitation.[15] By the end of 1895, he made statements to the press about the possibility that "Earth's electrical charge can be disturbed, and thereby electrical waves can be efficiently transmitted to any distance without the use of cables or wires", and that the electrical waves can be used to transmit "intelligible signals" and "motive power."[18] On April 11, 1896, he stated that "messages might be conducted to all parts of the globe simultaneously" using electric waves "propagated through the atmosphere and even the ether beyond."[19] In September 1897 he applied for a patent[20] on a wireless power transmission scheme consisting of transmitting power between two tethered balloons maintained at 30,000 feet, an altitude where he thought a conductive layer should exist.[21]

Between 1895 and 1898, he constructed a large resonance transformer in his New York City lab called a magnifying transmitter to test his earth conduction theories.[22] In 1899 he carried out large scale experiments at Colorado Springs, Colorado. Based on his measurements there, he concluded that the Earth was "literally alive with electrical vibrations." He noted that lightning strikes indicate that the Earth is a large conductor with waves of energy traveling around it. He constructed a large magnifying transmitter measuring fifty-one feet (16 m) in diameter which could develop a working potential estimated at 3.5 million to 4 million volts and was capable of producing electrical discharges exceeding one hundred feet (30 m) in length.[23] With it he tested earth conduction and lit incandescent electric lamps adjacent to his lab in demonstrations of wireless power transmission.

In Colorado Springs, a Tesla coil receiver tuned in resonance with a Tesla coil transmitter illuminates a 10-watt incandescent lamp.[24] The distance from the transmitter's ground plate to the point of reception is 1,938 feet (591 m).[25]

Upon returning to New York City from Colorado Springs in 1900 he sought venture capitalists to fund what he viewed as a revolutionary wireless communication and electric power delivery system using the Earth as the conductor. By the end of 1900 he had gained the attention of financier J. P. Morgan who agreed to fund a pilot project (later to become the Wardenclyffe project) which, based on his theories, would be capable of transmitting messages, telephony, and even facsimile images across the Atlantic to England and to ships at sea. Morgan was to receive a controlling share in the company as well as half of all the patent income. Almost as soon as the contract was signed Tesla decided to scale up the facility to include his ideas of terrestrial wireless power transmission to better compete with Guglielmo Marconi's radio based telegraph system.[26] Morgan refused to fund the changes and, when no additional investment capital became available, the project at Wardenclyffe was abandoned in 1906, never to become operational.

Construction of the Wardenclyffe "wireless plant" in Shoreham started towards the end of 1901 and continued for the next three years. The plant included a Stanford White–designed 94 by 94 ft (29 by 29 m) brick building, a wood-framed tower 186 feet (57 m) tall with a 68 feet (21 m) in diameter "cupola" on top, and a 120 feet (37 m) shaft sunk into the ground with sixteen iron pipes driven "one length after another" 300 feet (91 m) below the shaft in order for the machine, in Tesla's words, "to have a grip on the earth so the whole of this globe can quiver".[27][28] Funding problems continued to plague Wardenclyffe and by 1905-1906 most of the site's activity had to be shut down.

Elements

Tesla's explanation of the wireless power system in the 1919 issue of "Electrical Experimenter" with the analogy that pulsing electric power through the Earth would be similar to pumping air into a ball

Through the latter part of the 1890s and during the construction of Wardenclyffe, Tesla applied for patents covering the many elements that would make up his wireless system. The system he came up with was based on electrical conduction with an electrical charge being conducted through the ground and as well as through a theorized conducting layer in the atmosphere.[29][30] The design consisted of a grounded Tesla coil as a resonance transformer transmitter that he thought would be able to create a displacement of Earth's electric charge by alternately charging and discharging the oscillator's elevated terminal. This would work in conjunction with a second Tesla coil used in receive mode at a distant location, also with a grounded helical resonator and an elevated terminal.[31][32][33] He believed that the placement of a grounded resonance transformer at another point on the Earth's surface in the role of a receiver tuned to the same frequency as the transmitter would allow electric current to flow through the Earth between the two.

He also believed waves of electric current from the sending tower could be made to reflect back from the far side of the globe, resulting in amplified stationary waves of electric current that could be utilized at any point on the globe, localizing power delivery directly to the receiving station. Another aspect of his system was electricity returned via "an equivalent electric displacement"[34] in the atmosphere via a charged conductive upper layer that he thought existed,[21][29] a theory dating back to an 1872 idea for a proposed wireless transmission-reception system developed by Mahlon Loomis.[35] The current was thought to be usable at the receiver for telecommunications, and to drive electrical devices.[32]

Tesla told a friend his plans included the building of more than thirty transmission-reception stations near major population centers around the world,[36] with Wardenclyffe being the first. If plans had moved forward without interruption, the Long Island prototype would have been followed by a second plant built in the British Isles, perhaps on the west coast of Scotland near Glasgow. Each of these facilities was to include a large magnifying transmitter of a design loosely based on the apparatus assembled at the Colorado Springs experimental station in 1899.[37]

Claimed applications

1925 artist's conception of what Tesla's wireless power transmission system might have looked like in the future, powering aircraft and lighting the city in the background.

Tesla's description of his wireless transmission ideas in 1895 includes its humanitarian uses in bringing abundant electrical energy to remote underdeveloped parts of the world, as well as fostering closer communications amongst nations.[38] In his June, 1900 Century Magazine article "The Problem of Increasing Human Energy", he elaborated on the properties of the Earth and on the principles of a system which could use the Earth as the medium for communication and the transmission of power without wires. He wrote that communications at any distance was practicable. He also noted this same process could be used to locate maritime objects such as icebergs or ships at sea and that "electrical movement of such magnitude" could communicate with other planets.[16]

In 1909 Tesla stated:

"It will soon be possible, for instance, for a business man in New York to dictate instructions and have them appear instantly in type in London or elsewhere. He will be able to call up from his desk and talk with any telephone subscriber in the world. It will only be necessary to carry an inexpensive instrument not bigger than a watch, which will enable its bearer to hear anywhere on sea or land for distances of thousands of miles. One may listen or transmit speech or song to the uttermost parts of the world."[39][40]

He also held beliefs that high potential electric current flowing through the upper atmosphere could make it glow, providing night time lighting for transoceanic shipping lanes.[35][41]

He elaborated on World Wireless in his 1919 Electrical Experimenter article titled "The True Wireless", detailing its ability for long range telecommunications and putting forward his view that the prevailing theory of radio wave propagation was inaccurate.[15][42]

"The Hertz wave theory of wireless transmission may be kept up for a while, but I do not hesitate to say that in a short time it will be recognized as one of the most remarkable and inexplicable aberrations of the scientific mind which has ever been recorded in history."

Feasibility

Tesla's demonstrations of wireless power transmission at Colorado Springs consisted of lighting incandescent electric lamps positioned nearby the structure housing his large experimental magnifying transmitter,[43] with ranges out to 1,938 feet (591 m) from the transmitter.[25] There is little direct evidence of his having transmitted power beyond these photographically documented demonstrations.[44][45][46][47][48][49][50][51][52] He would claim afterwards that he had "carried on practical experiments in wireless transmission".[2] He believed that he had achieved Earth electrical resonance that, according to his theory, would produce electrical effects at any terrestrial distance.[53] 

There have been varied claims over the years regarding Tesla's accomplishments with his wireless system. His own notes from Colorado Springs are unclear as to whether he was ever successful at long-range transmission.[54] Tesla made a claim in a 1916 statement to attorney Drury W. Cooper that in 1899, he collected quantitative transmission-reception data at a distance of about 10 miles (16 km).[55] Tesla biographer John J. O'Neill made a claim in his 1944 book Prodigal Genius: The life of Nikola Tesla that in 1899 at Colorado Springs, Tesla lit 200 incandescent lamps at a distance of 26 miles (42 km).[54][56]

Scientist and engineers working in the field note that Tesla's ideas of transmitting large amounts of power long range would never have worked since he generally misunderstood the physics involved, over-estimated the conductivity of the Earth and the atmosphere, and vastly underestimated the loss of power over distance.[57][45][46][51][58][59][60][61][62]

  • SYSTEM OF ELECTRIC LIGHTING, April 25, 1891, U.S. patent 454,622, June 23, 1891.
  • MEANS FOR GENERATING ELECTRIC CURRENTS, August 2, 1893, U.S. patent 514,168, February 6, 1894.
  • ELECTRICAL TRANSFORMER, March 20, 1897, U.S. patent 593,138, November 2, 1897.
  • METHOD AND APPARATUS FOR CONTROLLING MECHANISM OF MOVING VESSEL OR VEHICLES, July 1, 1898, U.S. patent 613,809 November 8, 1898.
  • SYSTEM OF TRANSMISSION OF ELECTRICAL ENERGY, September 2, 1897, U.S. patent 645,576, March 20, 1900.
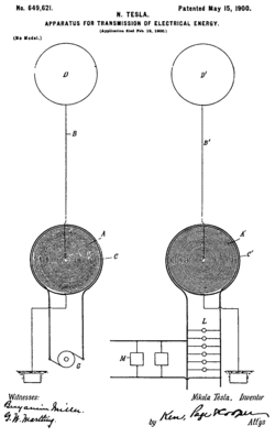
  • APPARATUS FOR TRANSMISSION OF ELECTRICAL ENERGY, September 2, 1897, U.S. patent 649,621, May 15, 1900.
  • METHOD OF INTENSIFYING AND UTILIZING EFFECTS TRANSMITTED THROUGH NATURAL MEDIA, June 24, 1899, U.S. patent 685,953, November 5, 1901.
  • METHOD OF UTILIZING EFFECTS TRANSMITTED THROUGH NATURAL MEDIA, August 1, 1899, U.S. patent 685,954, November 5, 1901.
  • APPARATUS FOR UTILIZING EFFECTS TRANSMITTED FROM A DISTANCE TO A RECEIVING DEVICE THROUGH NATURAL MEDIA, June 24, 1899, U.S. patent 685,955, November 5, 1901.
  • APPARATUS FOR UTILIZING EFFECTS TRANSMITTED THROUGH NATURAL MEDIA, March 21, 1900, U.S. patent 685,956, November 5, 1901.
  • METHOD OF SIGNALING, July 16, 1900, U.S. patent 723,188, March 17, 1903.
  • SYSTEM OF SIGNALING, July 16, 1900, U.S. patent 725,605, April 14, 1903.
  • ART OF TRANSMITTING ELECTRICAL ENERGY THROUGH THE NATURAL MEDIUMS, May 16, 1900, U.S. patent 787,412, April 18, 1905.
  • ART OF TRANSMITTING ELECTRICAL ENERGY THROUGH THE NATURAL MEDIUMS, April 17, 1906, Canadian Patent 142,352, August 13, 1912.
  • APPARATUS FOR TRANSMITTING ELECTRICAL ENERGY, January 18, 1902, U.S. patent 1,119,732, December 1, 1914.

See also

Apparatus

Notes

  1. ^ "The Transmission of Electric Energy Without Wires," Electrical World, March 5, 1904". 21st Century Books. 5 March 1904. Retrieved 4 June 2009.."
  2. ^ a b Electrocraft. Volume 6. 1910, p. 389
  3. ^ Electrical Experimenter, January 1919. p. 615
  4. ^ Cheney, Margaret, Tesla: Man Out of Time, Prentice-Hall, Inc., 1981, p. 174.
  5. ^ Norrie, H. S., Induction Coils: How to make, use, and repair them. Norman H. Schneider, 1907, New York. 4th edition.
  6. ^ James O'Neill, Prodigal Genius: The Life of Nikola Tesla, p. 86
  7. ^ Marc Seifer, Wizard: The Life and Times of Nikola Tesla. p. 1721
  8. ^ "Nikola Tesla". Engineering and Technology History Wiki. Retrieved December 4, 2021.
  9. ^ U.S. patent 447,921, Tesla, Nikola, "Alternating Electric Current Generator".
  10. ^ Radio: Brian Regal, The Life Story of a Technology, p. 22
  11. ^ W. Bernard Carlson, Tesla: Inventor of the Electrical Age, Princeton University Press. 2013, p. 132
  12. ^ note: at St. Louis, Missouri, Tesla public demonstration called, "On Light and Other High Frequency Phenomena", Journal of the Franklin Institute, Volume 136 By Persifor Frazer, Franklin Institute (Philadelphia, Pa)
  13. ^ Martin, Thomas Commerford, "The Inventions, Researches and Writings of Nikola Tesla", The Electrical Engineer, New York, 1894; "On Light and Other High Frequency Phenomena," February 24, 1893, before the Franklin Institute, Philadelphia, March 1893, before the National Electric Light Association, St. Louis.
  14. ^ Martin, Thomas Commerford, "The Inventions, Researches and Writings of Nikola Tesla", The Electrical Engineer, New York, 1894; "Experiments With Alternating Currents of Very High Frequency, and Their Application to Methods of Artificial Illumination," AIEE, Columbia College, N.Y., May 20, 1891.
  15. ^ a b c d earlyradiohistory.us, Thomas H. White, Nikola Tesla: The Guy Who DIDN'T "Invent Radio", November 1, 2012
  16. ^ a b Nikola Tesla, The Problem of Increasing Human Energy, June 1, 1900
  17. ^ Brian Regal, Radio: The Life Story of a Technology, p. 22
  18. ^ "Tesla on Electricity Without Wires," Electrical Engineer N.Y., Jan 8, 1896, p. 52. (Refers to letter by Tesla in the New York Herald, 12/31/1895.)
  19. ^ Mining & Scientific Press, "Electrical Progress" Nikola Tesla Is Credited With Statement", April 11, 1896
  20. ^ U.S. Patents number 645,576 and 649,621
  21. ^ a b Carol Dommermuth-Costa, Nikola Tesla: A Spark of Genius, Twenty-First Century Books, 1994, pp. 85–86
  22. ^ My Inventions: The Autobiography of Nikola Tesla, Hart Brothers, 1982, Ch. 5, ISBN 0-910077-00-2
  23. ^ Nikola Tesla: Guided Weapons & Computer Technology, Leland I. Anderson, 21st Century Books, 1998, pp. 12–13, ISBN 0-9636012-9-6.
  24. ^ Tesla, Nikola (2002). Nikola Tesla on His Work with Alternating Currents and Their Application to Wireless Telegraphy, Telephony, and Transmission of Power: An Extended Interview. 21st Century Books. pp. 96–97. ISBN 1893817016.
  25. ^ a b Tesla, Nikola; Marinčić, Aleksandar; Popovic, Vojin; Ciric, Milan (2008). From Colorado Springs to Long Island : research notes : Colorado Springs 1899-1900, New York 1900-1901. Belgrade: Nikola Tesla Museum. p. 449. ISBN 9788681243442. Retrieved 28 February 2016.
  26. ^ Marc J. Seifer, Nikola Tesla: The Lost Wizard, from: ExtraOrdinary Technology (Volume 4, Issue 1; Jan/Feb/Mar 2006)
  27. ^ Nikola Tesla On His Work With Alternating Currents and Their Application to Wireless Telegraphy, Telephony, and Transmission of Power, ISBN 1-893817-01-6, p. 203
  28. ^ Margaret Cheney, Robert Uth, Jim Glenn, Tesla, Master of Lightning, Barnes & Noble Publishing. 1999, p. 100
  29. ^ a b W. Bernard Carlson, Tesla: Inventor of the Electrical Age, Princeton University Press. 2013, p. 210
  30. ^ Margaret Cheney, Robert Uth, Jim Glenn, Tesla, Master of Lightning, Barnes & Noble Publishing. 1999, p. 106
  31. ^ Seifer, Marc J., Wizard: The Life and Times of Nikola Tesla. p. 228.
  32. ^ a b Ratzlaff, John T., Dr. Nikola Tesla Complete Patents; System of Transmission of Electrical Energy, September 2, 1897, U.S. patent 645,576, March 20, 1900.
  33. ^ Tesla, Nikola, "The True Wireless". Electrical Experimenter, May 1919. (Available at pbs.org)
  34. ^ Ratzlaff, John T., Tesla Said, Tesla Book Company, 1984; "The Disturbing Influence of Solar Radiation On the Wireless Transmission of Energy," Electrical Review and Western Electrician, July 6, 1912
  35. ^ a b Thomas H. White, Nikola Tesla: The Guy Who DIDN'T "Invent Radio", earlyradiohistory.us, November 2012
  36. ^ Seifer, Marc J., Wizard: The Life and Times of Nikola Tesla. p. 472. (cf. "Each tower could act as a sender or a receiver. In a letter to Katherine Johnson, he explains the need for well over thirty such towers".)
  37. ^ Nikola Tesla On His Work with Alternating Currents and Their Application to wireless Telegraphy, Telephony, and Transmission of Power, 21st Century Books, 2002, p. 170.
  38. ^ Nikola Tesla, "Letter: Electricity Without Wires", New York Herald, 01/01/1896
  39. ^ Gilbert King, The Rise and Fall of Nikola Tesla and his Tower, smithsonian.com, February 4, 2013
  40. ^ Wireless of the Future, Popular Mechanics Oct 1909
  41. ^ Tesla Predicts Ships Powered By Shore Beam, Scoffs at Normandie ‘Speed,’ Sees Success for His Plan to Use Stratosphere Ray, Would Light Sea at Night, Says French Liner's System Copies His in U.S. Boats, New York Herald Tribune, June 5th, 1935
  42. ^ Gregory Malanowski, The Race for Wireless, AuthorHouse. 2011, p. 36
  43. ^ , recorded in "The Problem of Increasing Human Energy" article published in Century Magazine, June 1900
  44. ^ Carlson, W. Bernard (2013). Tesla: Inventor of the Electrical Age. Princeton University Press. pp. 294–301. ISBN 978-1400846559.
  45. ^ a b Coe, Lewis (2006). Wireless Radio: A History. McFarland. p. 112. ISBN 0786426624.
  46. ^ a b Wheeler, L. P. (August 1943). "Tesla's contribution to high frequency". Electrical Engineering. 62 (8). IEEE: 355–57. doi:10.1109/EE.1943.6435874. ISSN 0095-9197. S2CID 51671246.
  47. ^ Cheney, Margaret; Uth, Robert; Glenn, Jim (1999). Tesla, Master of Lightning. Barnes & Noble Publishing. pp. 90–92. ISBN 0760710058.
  48. ^ Brown, William C. (1984). "The history of power transmission by radio waves". IEEE Transactions on Microwave Theory and Techniques. 32 (9). Inst. of Electrical and Electronic Engineers: 1230–34. Bibcode:1984ITMTT..32.1230B. doi:10.1109/TMTT.1984.1132833. Retrieved November 20, 2014.
  49. ^ Dunning, Brian. "Skeptoid #345: Cult of Nikola Tesla". Skeptoid. Retrieved November 4, 2014.
  50. ^ "Life and Legacy: Colorado Springs". Tesla: Master of Lightning – companion site for 2000 PBS television documentary. 2000. Retrieved November 19, 2014.
  51. ^ a b Shinohara, Naoki (2014). Wireless Power Transfer via Radiowaves. John Wiley & Sons. p. 11. ISBN 978-1118862964.
  52. ^ 2 Jan, 1899, ‘‘Nikola Tesla Colorado Springs Notes 1899–1900’’, Nolit, 1978, p. 353.
  53. ^ W. Bernard Carlson, Tesla: Inventor of the Electrical Age, Princeton University Press. 2013, p. 301
  54. ^ a b Cheney, Margaret; Uth, Robert; Glenn, Jim (1999). Tesla, Master of Lightning. Barnes & Noble Publishing. pp. 90–92. ISBN 0760710058.
  55. ^ Cooper, Drury W., internal document of the law firm Kerr, Page & Cooper, New York City, 1916. (Cited in Anderson, Leland (1992). Nikola Tesla on His Work with Alternating Currents and Their Application to Wireless Telegraphy, Telephony, and Transmission of Power: An Extended Interview. Sun Publishing Company. p. 173. ISBN 1893817016.)
  56. ^ O'Neill, John J. (1944). Prodigal Genius: The life of Nikola Tesla. Ives Washburn, Inc. p. 193.
  57. ^ Marc Seifer, Wizard: The Life and Times of Nikola Tesla. pp. 471–72
  58. ^ Broad, William J. (May 4, 2009). "A Battle to Preserve a Visionary's Bold Failure". New York Times. New York. p. D1. Retrieved November 19, 2014.
  59. ^ Wearing, Judy (2009). Edison's Concrete Piano: Flying Tanks, Six-Nippled Sheep, Walk-On-Water Shoes, and 12 Other Flops From Great Inventors. ECW Press. p. 98. ISBN 978-1554905515.
  60. ^ Curty, Jari-Pascal; Declercq, Michel; Dehollain, Catherine; Joehl, Norbert (2006). Design and Optimization of Passive UHF RFID Systems. Springer. p. 4. ISBN 0387447105.
  61. ^ Belohlavek, Peter; Wagner, John W (2008). Innovation: The Lessons of Nikola Tesla. Blue Eagle Group. pp. 78–79. ISBN 978-9876510097.
  62. ^ "Dennis Papadopoulos interview". Tesla: Master of Lightning – companion site for 2000 PBS television documentary. 2000. Retrieved November 19, 2014.

Further reading