Island of stability
In nuclear physics, the island of stability is a predicted set of isotopes of superheavy elements that may have considerably longer half-lives than known isotopes of these elements. It is predicted to appear as an "island" in the chart of nuclides, separated from known stable and long-lived primordial radionuclides. Its theoretical existence is attributed to stabilizing effects of predicted "magic numbers" of protons and neutrons in the superheavy mass region.[3][4]
| Nuclear physics |
|---|
![]() |
|

Several predictions have been made regarding the exact location of the island of stability, though it is generally thought to center near copernicium and flerovium isotopes in the vicinity of the predicted closed neutron shell at N = 184.[2] These models strongly suggest that the closed shell will confer further stability towards fission and alpha decay. While these effects are expected to be greatest near atomic number Z = 114 (flerovium) and N = 184, the region of increased stability is expected to encompass several neighboring elements, and there may also be additional islands of stability around heavier nuclei that are doubly magic (having magic numbers of both protons and neutrons). Estimates of the stability of the nuclides within the island are usually around a half-life of minutes or days; some optimists think half-lives of millions of years.
Although the nuclear shell model predicting magic numbers has existed since the 1940s, the existence of long-lived superheavy nuclides has not been definitively demonstrated. Like the rest of the superheavy elements, the nuclides within the island of stability have never been found in nature; thus, they must be created artificially in a nuclear reaction to be studied. Scientists have not found a way to carry out such a reaction, for it is likely that new types of reactions will be needed to populate nuclei near the center of the island. Nevertheless, the successful synthesis of superheavy elements up to Z = 118 (oganesson) with up to 177 neutrons demonstrates a slight stabilizing effect around elements 110 to 114 that may continue in heavier isotopes, consistent with the existence of the island of stability.[2][5]
Introduction
Nuclide stability

The composition of a nuclide (atomic nucleus) is defined by the number of protons Z and the number of neutrons N, which sum to mass number A. Proton number Z, also named the atomic number, determines the position of an element in the periodic table. The approximately 3300 known nuclides[6] are commonly represented in a chart with Z and N for its axes and the half-life for radioactive decay indicated for each unstable nuclide (see figure).[7] As of 2019, 251 nuclides are observed to be stable (having never been observed to decay);[8] generally, as the number of protons increases, stable nuclei have a higher neutron–proton ratio (more neutrons per proton). The last element in the periodic table that has a stable isotope is lead (Z = 82),[lower-alpha 1][lower-alpha 2] with stability (i.e., half-lives of the longest-lived isotopes) generally decreasing in heavier elements,[lower-alpha 3][11] especially beyond curium (Z = 96).[12] The half-lives of nuclei also decrease when there is a lopsided neutron–proton ratio, such that the resulting nuclei have too few or too many neutrons to be stable.[13]
The stability of a nucleus is determined by its binding energy, higher binding energy conferring greater stability. The binding energy per nucleon increases with atomic number to a broad plateau around A = 60, then declines.[14] If a nucleus can be split into two parts that have a lower total energy (a consequence of the mass defect resulting from greater binding energy), it is unstable. The nucleus can hold together for a finite time because there is a potential barrier opposing the split, but this barrier can be crossed by quantum tunneling. The lower the barrier and the masses of the fragments, the greater the probability per unit time of a split.[15]
Protons in a nucleus are bound together by the strong force, which counterbalances the Coulomb repulsion between positively charged protons. In heavier nuclei, larger numbers of uncharged neutrons are needed to reduce repulsion and confer additional stability. Even so, as physicists started to synthesize elements that are not found in nature, they found the stability decreased as the nuclei became heavier.[16] Thus, they speculated that the periodic table might come to an end. The discoverers of plutonium (element 94) considered naming it "ultimium", thinking it was the last.[17] Following the discoveries of heavier elements, of which some decayed in microseconds, it then seemed that instability with respect to spontaneous fission would limit the existence of heavier elements. In 1939, an upper limit of potential element synthesis was estimated around element 104,[18] and following the first discoveries of transactinide elements in the early 1960s, this upper limit prediction was extended to element 108.[16]
Magic numbers
As early as 1914, the possible existence of superheavy elements with atomic numbers well beyond that of uranium—then the heaviest known element—was suggested, when German physicist Richard Swinne proposed that superheavy elements around Z = 108 were a source of radiation in cosmic rays. Although he did not make any definitive observations, he hypothesized in 1931 that transuranium elements around Z = 100 or Z = 108 may be relatively long-lived and possibly exist in nature.[21] In 1955, American physicist John Archibald Wheeler also proposed the existence of these elements;[22] he is credited with the first usage of the term "superheavy element" in a 1958 paper published with Frederick Werner.[23] This idea did not attract wide interest until a decade later, after improvements in the nuclear shell model. In this model, the atomic nucleus is built up in "shells", analogous to electron shells in atoms. Independently of each other, neutrons and protons have energy levels that are normally close together, but after a given shell is filled, it takes substantially more energy to start filling the next. Thus, the binding energy per nucleon reaches a local maximum and nuclei with filled shells are more stable than those without.[24] This theory of a nuclear shell model originates in the 1930s, but it was not until 1949 that German physicists Maria Goeppert Mayer and Johannes Hans Daniel Jensen et al. independently devised the correct formulation.[25]
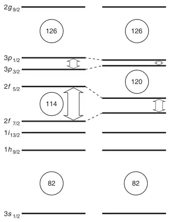
The numbers of nucleons for which shells are filled are called magic numbers. Magic numbers of 2, 8, 20, 28, 50, 82 and 126 have been observed for neutrons, and the next number is predicted to be 184.[5][26] Protons share the first six of these magic numbers,[27] and 126 has been predicted as a magic proton number since the 1940s.[28] Nuclides with a magic number of each—such as 16O (Z = 8, N = 8), 132Sn (Z = 50, N = 82), and 208Pb (Z = 82, N = 126)—are referred to as "doubly magic" and are more stable than nearby nuclides as a result of greater binding energies.[29][30]
In the late 1960s, more sophisticated shell models were formulated by American physicist William Myers and Polish physicist Władysław Świątecki, and independently by German physicist Heiner Meldner (1939–2019[31][32]). With these models, taking into account Coulomb repulsion, Meldner predicted that the next proton magic number may be 114 instead of 126.[33] Myers and Świątecki appear to have coined the term "island of stability", and American chemist Glenn Seaborg, later a discoverer of many of the superheavy elements, quickly adopted the term and promoted it.[28][34] Myers and Świątecki also proposed that some superheavy nuclei would be longer-lived as a consequence of higher fission barriers. Further improvements in the nuclear shell model by Soviet physicist Vilen Strutinsky led to the emergence of the macroscopic–microscopic method, a nuclear mass model that takes into consideration both smooth trends characteristic of the liquid drop model and local fluctuations such as shell effects. This approach enabled Swedish physicist Sven Nilsson et al., as well as other groups, to make the first detailed calculations of the stability of nuclei within the island.[33] With the emergence of this model, Strutinsky, Nilsson, and other groups argued for the existence of the doubly magic nuclide 298Fl (Z = 114, N = 184), rather than 310Ubh (Z = 126, N = 184) which was predicted to be doubly magic as early as 1957.[33] Subsequently, estimates of the proton magic number have ranged from 114 to 126, and there is still no consensus.[5][20][35][36]
Discoveries
| Element | Atomic number |
Most stable isotope |
Half-life[lower-alpha 4] | |
|---|---|---|---|---|
| Publications [37][38] |
NUBASE 2020 [39] | |||
| Rutherfordium | 104 | 267Rf | 48 min[40] | 2.5 h |
| Dubnium | 105 | 268Db | 16 h[41] | 1.2 d |
| Seaborgium | 106 | 269Sg | 14 min[42] | 5 min |
| Bohrium | 107 | 270Bh[lower-alpha 5] | 2.4 min[44] | 3.8 min |
| Hassium | 108 | 269Hs | 9.7 s[45] | 16 s |
| Meitnerium | 109 | 278Mt[lower-alpha 6][lower-alpha 7] | 4.5 s | 6 s |
| Darmstadtium | 110 | 281Ds[lower-alpha 6] | 12.7 s | 14 s |
| Roentgenium | 111 | 282Rg[lower-alpha 6][lower-alpha 8] | 1.7 min | 2.2 min |
| Copernicium | 112 | 285Cn[lower-alpha 6] | 28 s | 30 s |
| Nihonium | 113 | 286Nh[lower-alpha 6] | 9.5 s | 12 s |
| Flerovium | 114 | 289Fl[lower-alpha 6][lower-alpha 9] | 1.9 s | 2.1 s |
| Moscovium | 115 | 290Mc[lower-alpha 6] | 650 ms | 840 ms |
| Livermorium | 116 | 293Lv[lower-alpha 6] | 57 ms | 70 ms |
| Tennessine | 117 | 294Ts[lower-alpha 6] | 51 ms | 70 ms |
| Oganesson | 118 | 294Og[lower-alpha 6] | 690 μs | 700 μs |
Interest in a possible island of stability grew throughout the 1960s, as some calculations suggested that it might contain nuclides with half-lives of billions of years.[47][48] They were also predicted to be especially stable against spontaneous fission in spite of their high atomic mass.[33][49] It was thought that if such elements exist and are sufficiently long-lived, there may be several novel applications as a consequence of their nuclear and chemical properties. These include use in particle accelerators as neutron sources, in nuclear weapons as a consequence of their predicted low critical masses and high number of neutrons emitted per fission,[50] and as nuclear fuel to power space missions.[35] These speculations led many researchers to conduct searches for superheavy elements in the 1960s and 1970s, both in nature and through nucleosynthesis in particle accelerators.[22]
During the 1970s, many searches for long-lived superheavy nuclei were conducted. Experiments aimed at synthesizing elements ranging in atomic number from 110 to 127 were conducted at laboratories around the world.[51][52] These elements were sought in fusion-evaporation reactions, in which a heavy target made of one nuclide is irradiated by accelerated ions of another in a cyclotron, and new nuclides are produced after these nuclei fuse and the resulting excited system releases energy by evaporating several particles (usually protons, neutrons, or alpha particles). These reactions are divided into "cold" and "hot" fusion, which respectively create systems with lower and higher excitation energies; this affects the yield of the reaction.[53] For example, the reaction between 248Cm and 40Ar was expected to yield isotopes of element 114, and that between 232Th and 84Kr was expected to yield isotopes of element 126.[54] None of these attempts were successful,[51][52] indicating that such experiments may have been insufficiently sensitive if reaction cross sections were low—resulting in lower yields—or that any nuclei reachable via such fusion-evaporation reactions might be too short-lived for detection.[lower-alpha 10] Subsequent successful experiments reveal that half-lives and cross sections indeed decrease with increasing atomic number, resulting in the synthesis of only a few short-lived atoms of the heaviest elements in each experiment;[55] as of 2022, the highest reported cross section for a superheavy nuclide near the island of stability is for 288Mc in the reaction between 243Am and 48Ca.[41]
Similar searches in nature were also unsuccessful, suggesting that if superheavy elements do exist in nature, their abundance is less than 10−14 moles of superheavy elements per mole of ore.[56] Despite these unsuccessful attempts to observe long-lived superheavy nuclei,[33] new superheavy elements were synthesized every few years in laboratories through light-ion bombardment and cold fusion[lower-alpha 11] reactions; rutherfordium, the first transactinide, was discovered in 1969, and copernicium, eight protons closer to the island of stability predicted at Z = 114, was reached by 1996. Even though the half-lives of these nuclei are very short (on the order of seconds),[39] the very existence of elements heavier than rutherfordium is indicative of stabilizing effects thought to be caused by closed shells; a model not considering such effects would forbid the existence of these elements due to rapid spontaneous fission.[18]
Flerovium, with the expected magic 114 protons, was first synthesized in 1998 at the Joint Institute for Nuclear Research in Dubna, Russia, by a group of physicists led by Yuri Oganessian. A single atom of element 114 was detected, with a lifetime of 30.4 seconds, and its decay products had half-lives measurable in minutes.[57] Because the produced nuclei underwent alpha decay rather than fission, and the half-lives were several orders of magnitude longer than those previously predicted[lower-alpha 12] or observed for superheavy elements,[57] this event was seen as a "textbook example" of a decay chain characteristic of the island of stability, providing strong evidence for the existence of the island of stability in this region.[59] Even though the original 1998 chain was not observed again, and its assignment remains uncertain,[43] further successful experiments in the next two decades led to the discovery of all elements up to oganesson, whose half-lives were found to exceed initially predicted values; these decay properties further support the presence of the island of stability.[5][46][60] However, a 2021 study on the decay chains of flerovium isotopes suggests that there is no strong stabilizing effect from Z = 114 in the region of known nuclei (N = 174),[61] and that extra stability would be predominantly a consequence of the neutron shell closure.[36] Although known nuclei still fall several neutrons short of N = 184 where maximum stability is expected (the most neutron-rich confirmed nuclei, 293Lv and 294Ts, only reach N = 177), and the exact location of the center of the island remains unknown,[62][5] the trend of increasing stability closer to N = 184 has been demonstrated. For example, the isotope 285Cn, with eight more neutrons than 277Cn, has a half-life almost five orders of magnitude longer. This trend is expected to continue into unknown heavier isotopes in the vicinity of the shell closure.[63]
Deformed nuclei

Though nuclei within the island of stability around N = 184 are predicted to be spherical, studies from the early 1990s—beginning with Polish physicists Zygmunt Patyk and Adam Sobiczewski in 1991[64]—suggest that some superheavy elements do not have perfectly spherical nuclei.[65][66] A change in the shape of the nucleus changes the position of neutrons and protons in the shell. Research indicates that large nuclei farther from spherical magic numbers are deformed,[66] causing magic numbers to shift or new magic numbers to appear. Current theoretical investigation indicates that in the region Z = 106–108 and N ≈ 160–164, nuclei may be more resistant to fission as a consequence of shell effects for deformed nuclei; thus, such superheavy nuclei would only undergo alpha decay.[67][68][69] Hassium-270 is now believed to be a doubly magic deformed nucleus, with deformed magic numbers Z = 108 and N = 162.[70] It has a half-life of 9 seconds.[39] This is consistent with models that take into account the deformed nature of nuclei intermediate between the actinides and island of stability near N = 184, in which a stability "peninsula" emerges at deformed magic numbers Z = 108 and N = 162.[71][72] Determination of the decay properties of neighboring hassium and seaborgium isotopes near N = 162 provides further strong evidence for this region of relative stability in deformed nuclei.[49] This also strongly suggests that the island of stability (for spherical nuclei) is not completely isolated from the region of stable nuclei, but rather that both regions are instead linked through an isthmus of relatively stable deformed nuclei.[71][73]
Predicted decay properties

The half-lives of nuclei in the island of stability itself are unknown since none of the nuclides that would be "on the island" have been observed. Many physicists believe that the half-lives of these nuclei are relatively short, on the order of minutes or days.[62] Some theoretical calculations indicate that their half-lives may be long, on the order of 100 years,[2][55] or possibly as long as 109 years.[48]
The shell closure at N = 184 is predicted to result in longer partial half-lives for alpha decay and spontaneous fission.[2] It is believed that the shell closure will result in higher fission barriers for nuclei around 298Fl, strongly hindering fission and perhaps resulting in fission half-lives 30 orders of magnitude greater than those of nuclei unaffected by the shell closure.[33][74] For example, the neutron-deficient isotope 284Fl (with N = 170) undergoes fission with a half-life of 2.5 milliseconds, and is thought to be one of the most neutron-deficient nuclides with increased stability in the vicinity of the N = 184 shell closure.[42] Beyond this point, some undiscovered isotopes are predicted to undergo fission with still shorter half-lives, limiting the existence[lower-alpha 13] and possible observation[lower-alpha 10] of superheavy nuclei far from the island of stability (namely for N < 170 as well as for Z > 120 and N > 184).[13][18] These nuclei may undergo alpha decay or spontaneous fission in microseconds or less, with some fission half-lives estimated on the order of 10−20 seconds in the absence of fission barriers.[67][68][69][74] In contrast, 298Fl (predicted to lie within the region of maximum shell effects) may have a much longer spontaneous fission half-life, possibly on the order of 1019 years.[33]
In the center of the island, there may be competition between alpha decay and spontaneous fission, though the exact ratio is model-dependent.[2] The alpha decay half-lives of 1700 nuclei with 100 ≤ Z ≤ 130 have been calculated in a quantum tunneling model with both experimental and theoretical alpha decay Q-values, and are in agreement with observed half-lives for some of the heaviest isotopes.[67][68][69][78][79][80]
The longest-lived nuclides are also predicted to lie on the beta-stability line, for beta decay is predicted to compete with the other decay modes near the predicted center of the island, especially for isotopes of elements 111–115. Unlike other decay modes predicted for these nuclides, beta decay does not change the mass number. Instead, a neutron is converted into a proton or vice versa, producing an adjacent isobar closer to the center of stability (the isobar with the lowest mass excess). For example, significant beta decay branches may exist in nuclides such as 291Fl and 291Nh; these nuclides have only a few more neutrons than known nuclides, and might decay via a "narrow pathway" towards the center of the island of stability.[1][2] The possible role of beta decay is highly uncertain, as some isotopes of these elements (such as 290Fl and 293Mc) are predicted to have shorter partial half-lives for alpha decay. Beta decay would reduce competition and would result in alpha decay remaining the dominant decay channel, unless additional stability towards alpha decay exists in superdeformed isomers of these nuclides.[81]
.svg.png.webp)
Considering all decay modes, various models indicate a shift of the center of the island (i.e., the longest-living nuclide) from 298Fl to a lower atomic number, and competition between alpha decay and spontaneous fission in these nuclides;[82] these include 100-year half-lives for 291Cn and 293Cn,[55][77] a 1000-year half-life for 296Cn,[55] a 300-year half-life for 294Ds,[74] and a 3500-year half-life for 293Ds,[83][84] with 294Ds and 296Cn exactly at the N = 184 shell closure. It has also been posited that this region of enhanced stability for elements with 112 ≤ Z ≤ 118 may instead be a consequence of nuclear deformation, and that the true center of the island of stability for spherical superheavy nuclei lies around 306Ubb (Z = 122, N = 184).[19] This model defines the island of stability as the region with the greatest resistance to fission rather than the longest total half-lives;[19] the nuclide 306Ubb is still predicted to have a short half-life with respect to alpha decay.[2][69] The island of stability for spherical nuclei may also be a "coral reef" (i.e., a broad region of increased stability without a clear "peak") around N = 184 and 114 ≤ Z ≤ 120, with half-lives rapidly decreasing at higher atomic number, due to combined effects from proton and neutron shell closures.[85]
Another potentially significant decay mode for the heaviest superheavy elements was proposed to be cluster decay by Romanian physicists Dorin N. Poenaru and Radu A. Gherghescu and German physicist Walter Greiner. Its branching ratio relative to alpha decay is expected to increase with atomic number such that it may compete with alpha decay around Z = 120, and perhaps become the dominant decay mode for heavier nuclides around Z = 124. As such, it is expected to play a larger role beyond the center of the island of stability (though still influenced by shell effects), unless the center of the island lies at a higher atomic number than predicted.[86]
Possible natural occurrence
Even though half-lives of hundreds or thousands of years would be relatively long for superheavy elements, they are far too short for any such nuclides to exist primordially on Earth. Additionally, instability of nuclei intermediate between primordial actinides (232Th, 235U, and 238U) and the island of stability may inhibit production of nuclei within the island in r-process nucleosynthesis. Various models suggest that spontaneous fission will be the dominant decay mode of nuclei with A > 280, and that neutron-induced or beta-delayed fission—respectively neutron capture and beta decay immediately followed by fission—will become the primary reaction channels. As a result, beta decay towards the island of stability may only occur within a very narrow path or may be entirely blocked by fission, thus precluding the synthesis of nuclides within the island.[87] The non-observation of superheavy nuclides such as 292Hs and 298Fl in nature is thought to be a consequence of a low yield in the r-process resulting from this mechanism, as well as half-lives too short to allow measurable quantities to persist in nature.[88][lower-alpha 14] Various studies utilizing accelerator mass spectroscopy and crystal scintillators have reported upper limits of the natural abundance of such long-lived superheavy nuclei on the order of 10−14 relative to their stable homologs.[91]
Despite these obstacles to their synthesis, a 2013 study published by a group of Russian physicists led by Valeriy Zagrebaev proposes that the longest-lived copernicium isotopes may occur at an abundance of 10−12 relative to lead, whereby they may be detectable in cosmic rays.[63] Similarly, in a 2013 experiment, a group of Russian physicists led by Aleksandr Bagulya reported the possible observation of three cosmogenic superheavy nuclei in olivine crystals in meteorites. The atomic number of these nuclei was estimated to be between 105 and 130, with one nucleus likely constrained between 113 and 129, and their lifetimes were estimated to be at least 3,000 years. Although this observation has yet to be confirmed in independent studies, it strongly suggests the existence of the island of stability, and is consistent with theoretical calculations of half-lives of these nuclides.[92][93][94]
The decay of heavy, long-lived elements in the island of stability is a proposed explanation for the unusual presence of the short-lived radioactive isotopes observed in Przybylski's Star.[95]
Synthesis and difficulties
The manufacture of nuclei on the island of stability proves to be very difficult because the nuclei available as starting materials do not deliver the necessary sum of neutrons. Radioactive ion beams (such as 44S) in combination with actinide targets (such as 248Cm) may allow the production of more neutron rich nuclei nearer to the center of the island of stability, though such beams are not currently available in the required intensities to conduct such experiments.[63][96][97] Several heavier isotopes such as 250Cm and 254Es may still be usable as targets, allowing the production of isotopes with one or two more neutrons than known isotopes,[63] though the production of several milligrams of these rare isotopes to create a target is difficult.[98] It may also be possible to probe alternative reaction channels in the same 48Ca-induced fusion-evaporation reactions that populate the most neutron-rich known isotopes, namely those at a lower excitation energy (resulting in fewer neutrons being emitted during de-excitation), or those involving evaporation of charged particles (pxn, evaporating a proton and several neutrons, or αxn, evaporating an alpha particle and several neutrons).[99] This may allow the synthesis of neutron-enriched isotopes of elements 111–117.[100] Although the predicted cross sections are on the order of 1–900 fb, smaller than when only neutrons are evaporated (xn channels), it may still be possible to generate otherwise unreachable isotopes of superheavy elements in these reactions.[99][100][101] Some of these heavier isotopes (such as 291Mc, 291Fl, and 291Nh) may also undergo electron capture (converting a proton into a neutron) in addition to alpha decay with relatively long half-lives, decaying to nuclei such as 291Cn that are predicted to lie near the center of the island of stability. However, this remains largely hypothetical as no superheavy nuclei near the beta-stability line have yet been synthesized and predictions of their properties vary considerably across different models.[1][63]
The process of slow neutron capture used to produce nuclides as heavy as 257Fm is blocked by short-lived isotopes of fermium that undergo spontaneous fission (for example, 258Fm has a half-life of 370 μs); this is known as the "fermium gap" and prevents the synthesis of heavier elements in such a reaction. It might be possible to bypass this gap, as well as another predicted region of instability around A = 275 and Z = 104–108, in a series of controlled nuclear explosions with a higher neutron flux (about a thousand times greater than fluxes in existing reactors) that mimics the astrophysical r-process.[63] First proposed in 1972 by Meldner, such a reaction might enable the production of macroscopic quantities of superheavy elements within the island of stability;[1] the role of fission in intermediate superheavy nuclides is highly uncertain, and may strongly influence the yield of such a reaction.[87]

It may also be possible to generate isotopes in the island of stability such as 298Fl in multi-nucleon transfer reactions in low-energy collisions of actinide nuclei (such as 238U and 248Cm).[96] This inverse quasifission (partial fusion followed by fission, with a shift away from mass equilibrium that results in more asymmetric products) mechanism[102] may provide a path to the island of stability if shell effects around Z = 114 are sufficiently strong, though lighter elements such as nobelium and seaborgium (Z = 102–106) are predicted to have higher yields.[63][103] Preliminary studies of the 238U + 238U and 238U + 248Cm transfer reactions have failed to produce elements heavier than mendelevium (Z = 101), though the increased yield in the latter reaction suggests that the use of even heavier targets such as 254Es (if available) may enable production of superheavy elements.[104] This result is supported by a later calculation suggesting that the yield of superheavy nuclides (with Z ≤ 109) will likely be higher in transfer reactions using heavier targets.[97] A 2018 study of the 238U + 232Th reaction at the Texas A&M Cyclotron Institute by Sara Wuenschel et al. found several unknown alpha decays that may possibly be attributed to new, neutron-rich isotopes of superheavy elements with 104 < Z < 116, though further research is required to unambiguously determine the atomic number of the products.[97][105] This result strongly suggests that shell effects have a significant influence on cross sections, and that the island of stability could possibly be reached in future experiments with transfer reactions.[105]
Other islands of stability
Further shell closures beyond the main island of stability in the vicinity of Z = 112–114 may give rise to additional islands of stability. Although predictions for the location of the next magic numbers vary considerably, two significant islands are thought to exist around heavier doubly magic nuclei; the first near 354126 (with 228 neutrons) and the second near 472164 or 482164 (with 308 or 318 neutrons).[33][74][106] Nuclides within these two islands of stability might be especially resistant to spontaneous fission and have alpha decay half-lives measurable in years, thus having comparable stability to elements in the vicinity of flerovium.[33] Other regions of relative stability may also appear with weaker proton shell closures in beta-stable nuclides; such possibilities include regions near 342126[107] and 462154.[108] Substantially greater electromagnetic repulsion between protons in such heavy nuclei may greatly reduce their stability, and possibly restrict their existence to localized islands in the vicinity of shell effects.[109] This may have the consequence of isolating these islands from the main chart of nuclides, as intermediate nuclides and perhaps elements in a "sea of instability" would rapidly undergo fission and essentially be nonexistent.[106] It is also possible that beyond a region of relative stability around element 126, heavier nuclei would lie beyond a fission threshold given by the liquid drop model and thus undergo fission with very short lifetimes, rendering them essentially nonexistent even in the vicinity of greater magic numbers.[107]
It has also been posited that in the region beyond A > 300, an entire "continent of stability" consisting of a hypothetical phase of stable quark matter, comprising freely flowing up and down quarks rather than quarks bound into protons and neutrons, may exist. Such a form of matter is theorized to be a ground state of baryonic matter with a greater binding energy per baryon than nuclear matter, favoring the decay of nuclear matter beyond this mass threshold into quark matter. If this state of matter exists, it could possibly be synthesized in the same fusion reactions leading to normal superheavy nuclei, and would be stabilized against fission as a consequence of its stronger binding that is enough to overcome Coulomb repulsion.[110]
See also
Notes
- The heaviest stable element was believed to be bismuth (atomic number 83) until 2003, when its only stable isotope, 209Bi, was observed to undergo alpha decay.[9]
- It is theoretically possible for other observationally stable nuclides to decay, though their predicted half-lives are so long that this process has never been observed.[10]
- A region of increased stability encompasses thorium (Z = 90) and uranium (Z = 92) whose half-lives are comparable to the age of the Earth. Elements intermediate between bismuth and thorium have shorter half-lives, and heavier nuclei beyond uranium become more unstable with increasing atomic number.[11]
- Different sources give different values for half-lives; the most recently published values in the literature and NUBASE are both listed for reference.
- The unconfirmed 278Bh may have a longer half-life of 11.5 minutes.[43]
- For elements 109–118, the longest-lived known isotope is always the heaviest discovered thus far. This makes it seem likely that there are longer-lived undiscovered isotopes among the even heavier ones.[46]
- The unconfirmed 282Mt may have a longer half-life of 1.1 minutes.[43]
- The unconfirmed 286Rg may have a longer half-life of 10.7 minutes.[43]
- The unconfirmed 290Fl may have a longer half-life of 19 seconds.[43]
- While such nuclei may be synthesized and a series of decay signals may be registered, decays faster than one microsecond may pile up with subsequent signals and thus be indistinguishable, especially when multiple uncharacterized nuclei may be formed and emit a series of similar alpha particles.[76] The main difficulty is thus attributing the decays to the correct parent nucleus, as a superheavy atom that decays before reaching the detector will not be registered at all.[77]
- This is a distinct concept from hypothetical fusion near room temperature (cold fusion); it instead refers to fusion reactions with lower excitation energy.
- Oganessian stated that element 114 would have a half-life on the order of 10−19 s in the absence of stabilizing effects in the vicinity of the theorized island.[58]
- The International Union of Pure and Applied Chemistry (IUPAC) defines the limit of nuclear existence at a half-life of 10−14 seconds; this is approximately the time required for nucleons to arrange themselves into nuclear shells and thus form a nuclide.[75]
- The observation of long-lived isotopes of roentgenium (with A = 261, 265) and unbibium (A = 292) in nature has been claimed by Israeli physicist Amnon Marinov et al.,[89][90] though evaluations of the technique used and subsequent unsuccessful searches cast considerable doubt on these results.[52][91]
References
- Zagrebaev, V. (2012). Opportunities for synthesis of new superheavy nuclei (What really can be done within the next few years). 11th International Conference on Nucleus-Nucleus Collisions (NN2012). San Antonio, Texas, US. pp. 24–28. Archived from the original on 3 March 2016.
- Karpov, A. V.; Zagrebaev, V. I.; Palenzuela, Y. M.; et al. (2012). "Decay properties and stability of the heaviest elements" (PDF). International Journal of Modern Physics E. 21 (2): 1250013-1–1250013-20. Bibcode:2012IJMPE..2150013K. doi:10.1142/S0218301312500139.
- Moskowitz, C. (2014). "Superheavy Element 117 Points to Fabled 'Island of Stability' on Periodic Table". Scientific American. Retrieved 20 April 2019.
- Roberts, S. (2019). "Is It Time to Upend the Periodic Table?". The New York Times. Retrieved 27 August 2019.
- Oganessian, Yu. Ts.; Rykaczewski, K. (2015). "A beachhead on the island of stability". Physics Today. 68 (8): 32–38. Bibcode:2015PhT....68h..32O. doi:10.1063/PT.3.2880. OSTI 1337838. S2CID 119531411.
- Thoennessen, M. (2018). "Discovery of Nuclides Project". Retrieved 13 September 2019.
- Podgorsak 2016, p. 512
- "Atomic structure". Australian Radiation Protection and Nuclear Safety Agency. Commonwealth of Australia. 2017. Retrieved 16 February 2019.
- Marcillac, P.; Coron, N.; Dambier, G.; et al. (2003). "Experimental detection of α-particles from the radioactive decay of natural bismuth". Nature. 422 (6934): 876–878. Bibcode:2003Natur.422..876D. doi:10.1038/nature01541. PMID 12712201. S2CID 4415582.
- Belli, P.; Bernabei, R.; Danevich, F. A.; et al. (2019). "Experimental searches for rare alpha and beta decays". European Physical Journal A. 55 (8): 140-1–140-7. arXiv:1908.11458. Bibcode:2019EPJA...55..140B. doi:10.1140/epja/i2019-12823-2. ISSN 1434-601X. S2CID 201664098.
- Greiner, W. (2012). "Heavy into Stability". Physics. 5: 115-1–115-3. Bibcode:2012PhyOJ...5..115G. doi:10.1103/Physics.5.115.
- Terranova, M. L.; Tavares, O. A. P. (2022). "The periodic table of the elements: the search for transactinides and beyond". Rendiconti Lincei. Scienze Fisiche e Naturali. 33 (1): 1–16. Bibcode:2022RLSFN..33....1T. doi:10.1007/s12210-022-01057-w. S2CID 247111430.
- Koura, H.; Katakura, J.; Tachibana, T.; Minato, F. (2015). "Chart of the Nuclides". Japan Atomic Energy Agency. Retrieved 12 April 2019.
- Podgorsak 2016, p. 33
- Blatt, J. M.; Weisskopf, V. F. (2012). Theoretical nuclear physics. Dover Publications. pp. 7–9. ISBN 978-0-486-13950-0.
- Sacks, O. (2004). "Greetings From the Island of Stability". The New York Times. Archived from the original on 4 July 2018. Retrieved 16 February 2019.
- Hoffman 2000, p. 34
- Möller, P. (2016). "The limits of the nuclear chart set by fission and alpha decay" (PDF). EPJ Web of Conferences. 131: 03002-1–03002-8. Bibcode:2016EPJWC.13103002M. doi:10.1051/epjconf/201613103002.
- Kratz, J. V. (2011). The Impact of Superheavy Elements on the Chemical and Physical Sciences (PDF). 4th International Conference on the Chemistry and Physics of the Transactinide Elements. pp. 30–37. Retrieved 27 August 2013.
- Koura, H.; Chiba, S. (2013). "Single-Particle Levels of Spherical Nuclei in the Superheavy and Extremely Superheavy Mass Region". Journal of the Physical Society of Japan. 82 (1): 014201-1–014201-5. Bibcode:2013JPSJ...82a4201K. doi:10.7566/JPSJ.82.014201.
- Kragh 2018, pp. 9–10
- Hoffman 2000, p. 400
- Thompson, S. G.; Tsang, C. F. (1972). Superheavy elements (PDF) (Report). Lawrence Berkeley National Laboratory. p. 28. LBL-665.
- Nave, R. "Shell Model of Nucleus". HyperPhysics. Department of Physics and Astronomy, Georgia State University. Retrieved 22 January 2007.
- Caurier, E.; Martínez-Pinedo, G.; Nowacki, F.; et al. (2005). "The shell model as a unified view of nuclear structure". Reviews of Modern Physics. 77 (2): 428. arXiv:nucl-th/0402046. Bibcode:2005RvMP...77..427C. doi:10.1103/RevModPhys.77.427. S2CID 119447053.
- Satake, M. (2010). Introduction to nuclear chemistry. Discovery Publishing House. p. 36. ISBN 978-81-7141-277-8.
- Ebbing, D.; Gammon, S. D. (2007). General chemistry (8th ed.). Houghton Mifflin. p. 858. ISBN 978-0-618-73879-3.
- Kragh 2018, p. 22
- Dumé, B. (2005). ""Magic" numbers remain magic". Physics World. IOP Publishing. Retrieved 17 February 2019.
- Blank, B.; Regan, P. H. (2000). "Magic and Doubly-Magic Nuclei". Nuclear Physics News. 10 (4): 20–27. doi:10.1080/10506890109411553. S2CID 121966707.
- "Heiner Walter Meldner". Lawrence Livermore National Laboratory. 2019.
- "Heiner Meldner Obituary". Legacy.com. The San Diego Union-Tribune. 2019.
- Bemis, C. E.; Nix, J. R. (1977). "Superheavy elements – the quest in perspective" (PDF). Comments on Nuclear and Particle Physics. 7 (3): 65–78. ISSN 0010-2709.
- Kragh, H. (2017). "The Search for Superheavy Elements: Historical and Philosophical Perspectives". pp. 8–9. arXiv:1708.04064 [physics.hist-ph].
- Courtland, R. (2010). "Weight scale for atoms could map 'island of stability'". NewScientist. Retrieved 4 July 2019.
- Clery, D. (2021). "Hopes evaporate for the superheavy element flerovium having a long life". Science. doi:10.1126/science.abh0581.
- Emsley 2011, p. 566
- Oganessian, Yu. Ts.; Utyonkov, V. K. (2015). "Super-heavy element research". Reports on Progress in Physics. 78 (3): 036301-14–036301-15. Bibcode:2015RPPh...78c6301O. doi:10.1088/0034-4885/78/3/036301. PMID 25746203. S2CID 37779526.
- Kondev, F. G.; Wang, M.; Huang, W. J.; Naimi, S.; Audi, G. (2021). "The NUBASE2020 evaluation of nuclear properties" (PDF). Chinese Physics C. 45 (3): 030001-174–030001-180. doi:10.1088/1674-1137/abddae.
- Oganessian, Yu. Ts.; Utyonkov, V. K.; Ibadullayev, D.; et al. (2022). "Investigation of 48Ca-induced reactions with 242Pu and 238U targets at the JINR Superheavy Element Factory". Physical Review C. 106 (24612): 024612. Bibcode:2022PhRvC.106b4612O. doi:10.1103/PhysRevC.106.024612. S2CID 251759318.
- Oganessian, Yu. Ts.; Utyonkov, V. K.; Kovrizhnykh, N. D.; et al. (29 September 2022). "First experiment at the Super Heavy Element Factory: High cross section of 288Mc in the243Am+48Ca reaction and identification of the new isotope 264Lr". Physical Review C. 106 (3): L031301. Bibcode:2022PhRvC.106c1301O. doi:10.1103/PhysRevC.106.L031301. S2CID 252628992.
- Utyonkov, V. K.; Brewer, N. T.; Oganessian, Yu. Ts.; et al. (2018). "Neutron-deficient superheavy nuclei obtained in the 240Pu + 48Ca reaction". Physical Review C. 97 (1): 014320-1–014320-10. Bibcode:2018PhRvC..97a4320U. doi:10.1103/PhysRevC.97.014320.
- Hofmann, S.; Heinz, S.; Mann, R.; et al. (2016). "Review of even element super-heavy nuclei and search for element 120". The European Physical Journal A. 2016 (52): 180-15–180-17. Bibcode:2016EPJA...52..180H. doi:10.1140/epja/i2016-16180-4. S2CID 124362890.
- Oganessian, Yu. Ts.; Utyonkov, V. K.; Kovrizhnykh, N. D.; et al. (2022). "New isotope 286Mc produced in the 243Am+48Ca reaction". Physical Review C. 106 (64306): 064306. Bibcode:2022PhRvC.106f4306O. doi:10.1103/PhysRevC.106.064306. S2CID 254435744.
- Schädel, M. (2015). "Chemistry of the superheavy elements". Philosophical Transactions of the Royal Society A. 373 (2037): 20140191–9. Bibcode:2015RSPTA.37340191S. doi:10.1098/rsta.2014.0191. PMID 25666065. S2CID 6930206.
- Oganessian, Yu. Ts. (2007). "Heaviest nuclei from 48Ca-induced reactions" (PDF). Journal of Physics G: Nuclear and Particle Physics. 34 (4): R233. Bibcode:2007JPhG...34R.165O. doi:10.1088/0954-3899/34/4/R01.
- Lodhi 1978, p. 11
- Oganessian, Yu. Ts. (2012). "Nuclei in the "Island of Stability" of Superheavy Elements". Journal of Physics: Conference Series. 337 (1): 012005. Bibcode:2012JPhCS.337a2005O. doi:10.1088/1742-6596/337/1/012005.
- Ćwiok, S.; Heenen, P.-H.; Nazarewicz, W. (2005). "Shape coexistence and triaxiality in the superheavy nuclei" (PDF). Nature. 433 (7027): 705–709. Bibcode:2005Natur.433..705C. doi:10.1038/nature03336. PMID 15716943. S2CID 4368001. Archived from the original (PDF) on 23 June 2010.
- Gsponer, A.; Hurni, J.-P. (2009). Fourth Generation Nuclear Weapons: The physical principles of thermonuclear explosives, inertial confinement fusion, and the quest for fourth generation nuclear weapons (PDF) (3rd printing of the 7th ed.). pp. 110–115.
- Lodhi 1978, p. 35
- Emsley 2011, p. 588
- Khuyagbaatar, J. (2017). "The cross sections of fusion-evaporation reactions: the most promising route to superheavy elements beyond Z = 118". EPJ Web of Conferences. 163: 00030-1–00030-5. Bibcode:2017EPJWC.16300030J. doi:10.1051/epjconf/201716300030.
- Hoffman 2000, p. 404
- Karpov, A.; Zagrebaev, V.; Greiner, W. (2015). "Superheavy Nuclei: Which regions of nuclear map are accessible in the nearest studies?" (PDF). SHE-2015. pp. 1–16. Retrieved 30 October 2018.
- Hoffman 2000, p. 403
- Oganessian, Yu. Ts.; Utyonkov, V. K.; Lobanov, Yu. V.; et al. (1999). "Synthesis of Superheavy Nuclei in the 48Ca + 244Pu Reaction" (PDF). Physical Review Letters. 83 (16): 3154. Bibcode:1999PhRvL..83.3154O. doi:10.1103/PhysRevLett.83.3154. Archived from the original (PDF) on 30 July 2020. Retrieved 31 December 2018.
- Chapman, K. (2016). "What it takes to make a new element". Chemistry World. Retrieved 16 January 2020.
- Hoffman 2000, p. 426
- Oganessian, Yu. Ts.; Abdullin, F. Sh.; Bailey, P. D.; et al. (2010). "Synthesis of a New Element with Atomic Number Z = 117". Physical Review Letters. 104 (14): 142502-1–142502-4. Bibcode:2010PhRvL.104n2502O. doi:10.1103/PhysRevLett.104.142502. PMID 20481935.
- Såmark-Roth, A.; Cox, D. M.; Rudolph, D.; et al. (2021). "Spectroscopy along Flerovium Decay Chains: Discovery of 280Ds and an Excited State in 282Cn". Physical Review Letters. 126 (3): 032503-1–032503-7. Bibcode:2021PhRvL.126c2503S. doi:10.1103/PhysRevLett.126.032503. hdl:10486/705608. ISSN 0031-9007. PMID 33543956.
- "Superheavy Element 114 Confirmed: A Stepping Stone to the Island of Stability". Berkeley Lab. 2009. Retrieved 23 October 2019.
- Zagrebaev, V.; Karpov, A.; Greiner, W. (2013). "Future of superheavy element research: Which nuclei could be synthesized within the next few years?". Journal of Physics: Conference Series. Vol. 420. IOP Science. pp. 1–15. arXiv:1207.5700. doi:10.1088/1757-899X/468/1/012012.
- Patyk, Z.; Sobiczewski, A. (1991). "Ground-state properties of the heaviest nuclei analyzed in a multidimensional deformation space". Nuclear Physics A. 533 (1): 150. Bibcode:1991NuPhA.533..132P. doi:10.1016/0375-9474(91)90823-O.
- Ćwiok, S.; Nazarewicz, W.; Heenen, P. H. (1999). "Structure of Odd-N Superheavy Elements". Physical Review Letters. 83 (6): 1108–1111. Bibcode:1999PhRvL..83.1108C. doi:10.1103/PhysRevLett.83.1108.
- Zagrebaev, V. I.; Aritomo, Y.; Itkis, M. G.; et al. (2001). "Synthesis of superheavy nuclei: How accurately can we describe it and calculate the cross sections?" (PDF). Physical Review C. 65 (1): 014607-1–014607-14. Bibcode:2001PhRvC..65a4607Z. doi:10.1103/PhysRevC.65.014607.
- Samanta, C.; Chowdhury, P. R.; Basu, D. N. (2007). "Predictions of alpha decay half lives of heavy and superheavy elements". Nuclear Physics A. 789 (1–4): 142–154. arXiv:nucl-th/0703086. Bibcode:2007NuPhA.789..142S. CiteSeerX 10.1.1.264.8177. doi:10.1016/j.nuclphysa.2007.04.001. S2CID 7496348.
- Chowdhury, P. R.; Samanta, C.; Basu, D. N. (2008). "Search for long lived heaviest nuclei beyond the valley of stability". Physical Review C. 77 (4): 044603-1–044603-14. arXiv:0802.3837. Bibcode:2008PhRvC..77d4603C. doi:10.1103/PhysRevC.77.044603. S2CID 119207807.
- Chowdhury, P. R.; Samanta, C.; Basu, D. N. (2008). "Nuclear half-lives for α-radioactivity of elements with 100 ≤ Z ≤ 130". Atomic Data and Nuclear Data Tables. 94 (6): 781–806. arXiv:0802.4161. Bibcode:2008ADNDT..94..781C. doi:10.1016/j.adt.2008.01.003. S2CID 96718440.
- Dvořák, J.; Brüchle, W.; Chelnokov, M.; et al. (2006). "Doubly Magic Nucleus 270
108Hs
162". Physical Review Letters. 97 (24): 242501-1–242501-4. Bibcode:2006PhRvL..97x2501D. doi:10.1103/PhysRevLett.97.242501. PMID 17280272. - Möller, P.; Nix, J. R. (1998). "Stability and Production of Superheavy Nuclei". AIP Conference Proceedings. 425 (1): 75. arXiv:nucl-th/9709016. Bibcode:1998AIPC..425...75M. doi:10.1063/1.55136. S2CID 119087649.
- Meng, X.; Lu, B.-N.; Zhou, S.-G. (2020). "Ground state properties and potential energy surfaces of 270Hs from multidimensionally constrained relativistic mean field model". Science China Physics, Mechanics & Astronomy. 63 (1): 212011-1–212011-9. arXiv:1910.10552. Bibcode:2020SCPMA..6312011M. doi:10.1007/s11433-019-9422-1. S2CID 204838163.
- Moody, K. J. (2014). "Synthesis of Superheavy Elements". In Schädel, M.; Shaughnessy, D. (eds.). The Chemistry of Superheavy Elements (2nd ed.). Springer. p. 3. ISBN 978-3-642-37466-1.
- Koura, H. (2011). Decay modes and a limit of existence of nuclei in the superheavy mass region (PDF). 4th International Conference on the Chemistry and Physics of the Transactinide Elements. Retrieved 18 November 2018.
- Emsley 2011, p. 590
- Sun, M. D.; Liu, Z.; Huang, T. H.; et al. (2017). "New short-lived isotope 223Np and the absence of the Z = 92 subshell closure near N = 126". Physics Letters B. 771: 303–308. Bibcode:2017PhLB..771..303S. doi:10.1016/j.physletb.2017.03.074.
- Palenzuela, Y. M.; Ruiz, L. F.; Karpov, A.; Greiner, W. (2012). "Systematic Study of Decay Properties of Heaviest Elements" (PDF). Bulletin of the Russian Academy of Sciences: Physics. 76 (11): 1165–1171. Bibcode:2012BRASP..76.1165P. doi:10.3103/S1062873812110172. ISSN 1062-8738. S2CID 120690838.
- Chowdhury, P. R.; Samanta, C.; Basu, D. N. (2006). "α decay half-lives of new superheavy elements". Physical Review C. 73 (1): 014612-1–014612-7. arXiv:nucl-th/0507054. Bibcode:2006PhRvC..73a4612C. doi:10.1103/PhysRevC.73.014612. S2CID 118739116.
- Chowdhury, P. R.; Basu, D. N.; Samanta, C. (2007). "α decay chains from element 113". Physical Review C. 75 (4): 047306-1–047306-3. arXiv:0704.3927. Bibcode:2007PhRvC..75d7306C. doi:10.1103/PhysRevC.75.047306. S2CID 118496739.
- Samanta, C.; Basu, D. N.; Chowdhury, P. R. (2007). "Quantum tunneling in 277112 and its alpha-decay chain". Journal of the Physical Society of Japan. 76 (12): 124201-1–124201-4. arXiv:0708.4355. Bibcode:2007JPSJ...76l4201S. doi:10.1143/JPSJ.76.124201. S2CID 14210523.
- Sarriguren, P. (2019). "Microscopic calculations of weak decays in superheavy nuclei". Physical Review C. 100 (1): 014309-1–014309-12. arXiv:1907.06877. Bibcode:2019PhRvC.100a4309S. doi:10.1103/PhysRevC.100.014309. S2CID 196831777.
- Nilsson, S. G.; Tsang, C. F.; Sobiczewski, A.; et al. (1969). "On the nuclear structure and stability of heavy and superheavy elements". Nuclear Physics A (Submitted manuscript). 131 (1): 53–55. Bibcode:1969NuPhA.131....1N. doi:10.1016/0375-9474(69)90809-4.
- P. Roy Chowdhury; C. Samanta & D. N. Basu (2008). "Search for long lived heaviest nuclei beyond the valley of stability". Phys. Rev. C. 77 (4): 044603. arXiv:0802.3837. Bibcode:2008PhRvC..77d4603C. doi:10.1103/PhysRevC.77.044603. S2CID 119207807.
- P. Roy Chowdhury; C. Samanta & D. N. Basu (2008). "Nuclear half-lives for α -radioactivity of elements with 100 ≤ Z ≤ 130". Atomic Data and Nuclear Data Tables. 94 (6): 781–806. arXiv:0802.4161. Bibcode:2008ADNDT..94..781C. doi:10.1016/j.adt.2008.01.003. S2CID 96718440.
- Malov, L. A.; Adamian, G. G.; Antonenko, N. V.; Lenske, H. (2021). "Landscape of the island of stability with self-consistent mean-field potentials". Physical Review C. 104 (6): 064303-1–064303-12. Bibcode:2021PhRvC.104f4303M. doi:10.1103/PhysRevC.104.064303. S2CID 244927833.
- Poenaru, D. N.; Gherghescu, R. A.; Greiner, W. (2011). "Heavy-Particle Radioactivity of Superheavy Nuclei". Physical Review Letters. 107 (6): 062503-1–062503-4. arXiv:1106.3271. Bibcode:2011PhRvL.107f2503P. doi:10.1103/PhysRevLett.107.062503. PMID 21902317. S2CID 38906110.
- Petermann, I; Langanke, K.; Martínez-Pinedo, G.; et al. (2012). "Have superheavy elements been produced in nature?". European Physical Journal A. 48 (122): 122. arXiv:1207.3432. Bibcode:2012EPJA...48..122P. doi:10.1140/epja/i2012-12122-6. S2CID 119264543.
- Ludwig, P.; Faestermann, T.; Korschinek, G.; et al. (2012). "Search for superheavy elements with 292 ≤ A ≤ 310 in nature with accelerator mass spectrometry" (PDF). Physical Review C. 85 (2): 024315-1–024315-8. doi:10.1103/PhysRevC.85.024315. Archived (PDF) from the original on 28 December 2018.
- Marinov, A.; Rodushkin, I.; Pape, A.; et al. (2009). "Existence of Long-Lived Isotopes of a Superheavy Element in Natural Au" (PDF). International Journal of Modern Physics E. 18 (3). World Scientific Publishing Company: 621–629. arXiv:nucl-ex/0702051. Bibcode:2009IJMPE..18..621M. doi:10.1142/S021830130901280X. S2CID 119103410. Archived from the original (PDF) on 14 July 2014. Retrieved 12 February 2012.
- Marinov, A.; Rodushkin, I.; Kolb, D.; et al. (2010). "Evidence for a long-lived superheavy nucleus with atomic mass number A = 292 and atomic number Z =~ 122 in natural Th". International Journal of Modern Physics E. 19 (1): 131–140. arXiv:0804.3869. Bibcode:2010IJMPE..19..131M. doi:10.1142/S0218301310014662. S2CID 117956340.
- Belli, P.; Bernabei, R.; Cappella, F.; et al. (2022). "Search for naturally occurring seaborgium with radiopure 116CdWO4 crystal scintillators". Physica Scripta. 97 (85302): 085302. Bibcode:2022PhyS...97h5302B. doi:10.1088/1402-4896/ac7a6d. S2CID 249902412.
- Bagulya, A. V.; Vladimirov, M. S.; Volkov, A. E.; et al. (2015). "Charge spectrum of superheavy nuclei of galactic cosmic rays obtained in the OLIMPIA experiment". Bulletin of the Lebedev Physics Institute. 42 (5): 152–156. Bibcode:2015BLPI...42..152B. doi:10.3103/S1068335615050073. S2CID 124044490.
- Alexandrov, A.; Alexeev, V.; Bagulya, A.; et al. (2019). "Natural superheavy nuclei in astrophysical data". arXiv:1908.02931 [nucl-ex].
- Giuliani, S. A.; Matheson, Z.; Nazarewicz, W.; et al. (2019). "Superheavy elements: Oganesson and beyond". Reviews of Modern Physics. 91 (1): 24–27. doi:10.1103/RevModPhys.91.011001. OSTI 1513815.
- V. A. Dzuba; V. V. Flambaum; J. K. Webb (2017). "Isotope shift and search for metastable superheavy elements in astrophysical data". Physical Review A. 95 (6): 062515. arXiv:1703.04250. Bibcode:2017PhRvA..95f2515D. doi:10.1103/PhysRevA.95.062515. S2CID 118956691.
- Popeko, A. G. (2016). Perspectives of SHE research at Dubna. NUSTAR Annual Meeting 2016. Helmholtzzentrum für Schwerionenforschung, Darmstadt, Germany. pp. 22–28.
- Zhu, L. (2019). "Possibilities of producing superheavy nuclei in multinucleon transfer reac-tions based on radioactive targets" (PDF). Chinese Physics C. 43 (12): 124103-1–124103-4. Bibcode:2019ChPhC..43l4103Z. doi:10.1088/1674-1137/43/12/124103. S2CID 209932076. Archived from the original (PDF) on 3 November 2019. Retrieved 3 November 2019.
- Roberto, J. B. (2015). "Actinide Targets for Super-Heavy Element Research" (PDF). cyclotron.tamu.edu. Texas A & M University. pp. 3–6. Retrieved 30 October 2018.
- Hong, J.; Adamian, G. G.; Antonenko, N. V.; Jachimowicz, P.; Kowal, M. (26 April 2023). Interesting fusion reactions in superheavy region (PDF). IUPAP Conference "Heaviest nuclei and atoms". Joint Institute for Nuclear Research. Retrieved 30 July 2023.
- Hong, J.; Adamian, G. G.; Antonenko, N. V. (2017). "Ways to produce new superheavy isotopes with Z = 111–117 in charged particle evaporation channels". Physics Letters B. 764: 42–48. Bibcode:2017PhLB..764...42H. doi:10.1016/j.physletb.2016.11.002.
- Siwek-Wilczyńska, K.; Cap, T.; Kowal, P. (2019). "How to produce new superheavy nuclei?". Physical Review C. 99 (5): 054603-1–054603-5. arXiv:1812.09522. doi:10.1103/PhysRevC.99.054603. S2CID 155404097.
- Sekizawa, K. (2019). "TDHF theory and its extensions for the multinucleon transfer reaction: A mini review". Frontiers in Physics. 7 (20): 1–6. arXiv:1902.01616. Bibcode:2019FrP.....7...20S. doi:10.3389/fphy.2019.00020. S2CID 73729050.
- Zagrebaev, V.; Greiner, W. (2008). "Synthesis of superheavy nuclei: A search for new production reactions". Physical Review C. 78 (3): 034610-1–034610-12. arXiv:0807.2537. Bibcode:2008PhRvC..78c4610Z. doi:10.1103/PhysRevC.78.034610.
- Schädel, M. (2016). "Prospects of heavy and superheavy element production via inelastic nucleus-nucleus collisions – from 238U + 238U to 18O + 254Es" (PDF). EPJ Web of Conferences. 131: 04001-1–04001-9. doi:10.1051/epjconf/201613104001.
- Wuenschel, S.; Hagel, K.; Barbui, M.; et al. (2018). "An experimental survey of the production of alpha decaying heavy elements in the reactions of 238U + 232Th at 7.5-6.1 MeV/nucleon". Physical Review C. 97 (6): 064602-1–064602-12. arXiv:1802.03091. Bibcode:2018PhRvC..97f4602W. doi:10.1103/PhysRevC.97.064602. S2CID 67767157.
- Greiner, W. (2013). "Nuclei: superheavy-superneutronic-strange-and of antimatter" (PDF). Journal of Physics: Conference Series. 413 (1): 012002-1–012002-9. Bibcode:2013JPhCS.413a2002G. doi:10.1088/1742-6596/413/1/012002.
- Okunev, V. S. (2018). "About islands of stability and limiting mass of the atomic nuclei". IOP Conference Series: Materials Science and Engineering. 468: 012012-1–012012-13. doi:10.1088/1757-899X/468/1/012012.
- Maly, J.; Walz, D. R. (1980). "Search for superheavy elements among fossil fission tracks in zircon" (PDF). p. 15. CiteSeerX 10.1.1.382.8189.
- Afanasjev, A. F.; Agbemava, S. E.; Gyawali, A. (2018). "Hyperheavy nuclei: Existence and stability". Physics Letters B. 782: 533–540. arXiv:1804.06395. Bibcode:2018PhLB..782..533A. doi:10.1016/j.physletb.2018.05.070. S2CID 119460491.
- Holdom, B.; Ren, J.; Zhang, C. (2018). "Quark matter may not be strange". Physical Review Letters. 120 (1): 222001-1–222001-6. arXiv:1707.06610. Bibcode:2018PhRvL.120v2001H. doi:10.1103/PhysRevLett.120.222001. PMID 29906186. S2CID 49216916.
Bibliography
- Emsley, J. (2011). Nature's Building Blocks: An A-Z Guide to the Elements (New ed.). Oxford University Press. ISBN 978-0-19-960563-7.
- Hoffman, D. C.; Ghiorso, A.; Seaborg, G. T. (2000). The Transuranium People: The Inside Story. World Scientific. ISBN 978-1-78326-244-1.
- Kragh, H. (2018). From Transuranic to Superheavy Elements: A Story of Dispute and Creation. Springer. ISBN 978-3-319-75813-8.
- Lodhi, M. A. K., ed. (1978). Superheavy Elements: Proceedings of the International Symposium on Superheavy Elements. Pergamon Press. ISBN 978-0-08-022946-1.
- Podgorsak, E. B. (2016). Radiation physics for medical physicists (3rd ed.). Springer. ISBN 978-3-319-25382-4.
External links
- Island ahoy! (Nature, 2006, with JINR diagram of heavy nuclides and predicted island of stability)
- Can superheavy elements (such as Z = 116 or 118) be formed in a supernova? Can we observe them? (Cornell, 2004 – "maybe")
- Second postcard from the island of stability (CERN, 2001; nuclides with 116 protons and mass 292)
- First postcard from the island of nuclear stability (CERN, 1999; first few Z = 114 atoms)


